日常工作流程
打印生产制造单:(拣货)
生产 → 生产制造单 → 筛选→在‘生产批次’ 中输入要打印的款号+批次→ 勾选单据编码 → 打印

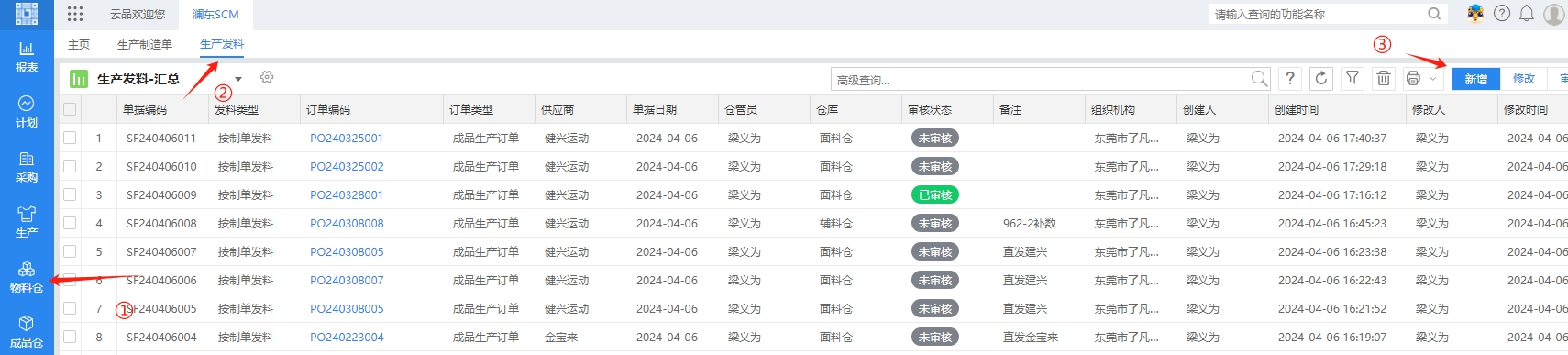
生产发料:(拣完物料建出库单)
物料仓→生产发料→新增→选择出库仓→订单编码→输入订单编码→确定→按制单输入已拣货的实数→检查完成后保存→审核


采购入库:(未完善)
物料仓→采购入库→新增→选择出库仓→单据编码 / 材料商→下一步


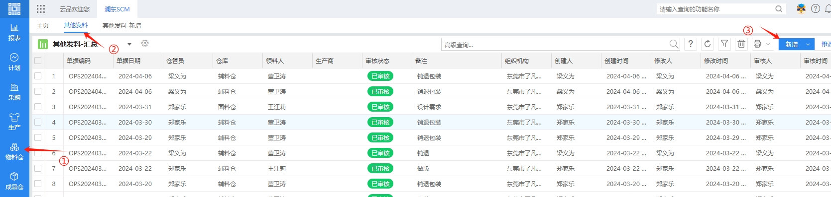
其他发料:(成品仓直接拿货,我们直接出单就行)
物料仓→其他发料→新增→选择发料类型(非生产发料)→选择仓库→原因(退销包装)→领料人选择经理→发料明细选择‘物料即时库存’→选择商品→保存后提交


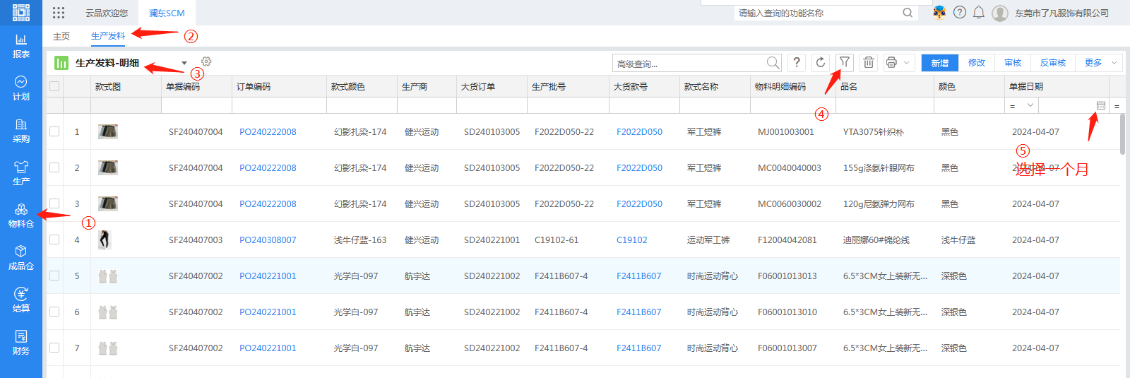
月初要做‘辅料发料统计’给经理
表格原件:
月辅料发料统计.xls
物料仓→生产发料→选择'明细'→筛选→单据日期(选择一个月)→更多→导出→导出所有数据

导出表格后:
仓库(只选辅料)→单据日期(一天天来)→生产批次→复制款号+种类到月辅料发料统计表格

填写以下内容:
注意:大货就填订单数量,不是大货就填备注!(订单数量 / 备注 二选一)

打商品标签:(文件无该款类的情况下,聚水潭)
商品→普通商品资料(商品及库存管理)→ 按商品→按款类编码



